Beaucoup auront remarqué que les pédaliers FC100 ne peuvent que se connecter au GP8, GS6 et peut être quelques autres appareils que je n'ai plus en mémoire mais pas à des appareils MIDI ![]()
Roland vendait un adaptateur MIDI/RRC nommé RMC-1, toutefois, bon courage pour le trouver
, je vais donc, par cet article, aider les possesseurs des bon vieux FC100 à leur redonner un coup de jeune qui leur permettra de les utiliser avec tous les appareils du marché au lieu de se retrouver bloqués avec un système propriétaire Roland ![]()
Matériel nécessaire :
Un jack mâle pour alim 2,1mm avec interrupteur (0,77€)
Une fiche DIN femelle
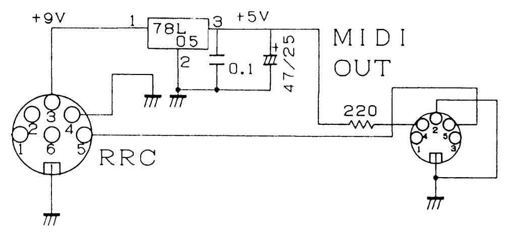
Un régulateur de tension 78L05
Un condensateur Film 100nF
Un condensateur chimique 47µF/16V
une résistance 220 ohms
Un alim genre à 5/10€ pouvant cracher 9 ou 10VUn fer à souder, de la soudure, un peu de fil de câblage et une perceuse
1 RX
2 non connecté
3 Vin +10v --------->Alimentation +10V
4 Masse ---------> Masse de l'alim
5 TX - (midi out) ---------> vers fiche MIDI
6 TX + (220 ohm pullup) ---------> vers fiche MIDI

Voilà : il suffit de 4 composants électroniques à la con, d'une DIN et d'une fiche d'alim pour qu'un FC100 ou FC100MkII redevienne un pédalier midi tout à fait classique
Si vous voulez garder à la fois le RRC actif et le midi, il faudra prendre garde à ce que l'adaptateur secteur déconnecte l'alimentation du RRC (fiches à interrupteur)...
Sinon? Vos allez faire des dégâts si les deux sont branchés en m^m temps.
9V devraient suffire pour alimenter le pédalier. On évitera de mettre + de 10V en tous cas
Il semblerait que la masse de l'alim/ masse du cable midi sont isolés du chassis
On évitera donc de connecter ceci au chassis sous peine de boucle de masse. Il faudra donc prendre garde à ce que la fiche d'alim installée soit isolée du châssis aussi
On peut tout à fait envisager d'utiliser une fiche DIN femelle 7 broche pour récupérer l'alim fantôme pour pédaliers de certains multi Fx genre Rocktron ou Lexicon voir d'autres marques



