Les fameuses machines "Pickups" de l'Octatrack MKII... C'est moi ou bien...
- 49 réponses
- 7 participants
- 2 467 vues
- 9 followers
Fab29

je n'ai pas peur de lire les manuels, en anglais au besoin
je n'ai jamais eu aucun problème pour aller au bout de la compréhension de mon matos
quand j'avais un studio orienté synthé j'avais tout une chaîne MIDI un sampler Akai des effets synchronisés, des BàR, des synths analo, numériques, et même des FM, tout ça piloté par un QY700 et ça marchait très bien en studio, en live, partout... que du bonheur
enfin tout ça juste pour dire que je ne suis pas un noob
je n'ai plus rien de cet ancien matos, maintenant j'ai juste un synthé et un OT MkII...
très amusant de faire des trucs avec des samples, du MIDI, des machins tout ça...
ça marche super, les effets sont très bon et tout va bien...
SAUF QUE :
maintenant je veux juste enregistrer des boucles de guitare à la volée pour jammer tranquille avec les fameux "pickups" du OT MkII
j'ai regardé des tas de tutos sur YT (et certains sont insupportables...)
mais j'ai regardé pour apprendre...
mais je n'ai jamais réussi à obtenir la moindre boucle de guitare avec ces fameux "pickups"
j'ai tout essayé
j'ai tout lu
et je ne comprends toujours rien...
je m'en remets à AF...
y a-t-il un cerveau supérieur qui fasse des boucles de guitare à la volée pour jammer avec nonchalance parmi vous ?
merci infiniment pour votre aide...
vraiment, j'espère...
Fab29
- 1
- 2
willowhisper56

Youtube - - - SoundCloud
Cours machines Elektron
Fab29

cet échantillonneur/looper/séquenceur à 1500€ peut-il enregistrer et boucler comme un looper, synchronisé à une piste du séquenceur pendant une durée déterminée sans s'effacer immédiatement sous un nouvel enregistrement alors qu'on n'a pas entendu le premier ?
une boucle est-elle obligée de se réenregistrer indéfiniment jusqu'à devenir inécoutable, même par les fans hardcore de Hainbach ?
par quel moyen puis-je faire un enregistrement de guitare en looper sachant que pour jouer de la guitare on utilise ses deux mains, comme d'ailleurs certains joueurs de synthétiseurs à ce qu'il paraîtrait ?
pourquoi n'ai-je jamais entendu un enregistrement looper défini par les outils de durée d'enregistrement et déclanché par rec trig ?
je pose une dernière fois ces questions et après je me sers de l'OT comme barbecue
willowhisper56

Idéalement tu pourrais faire une video pour montrer comment tu procèdes, il y a apparemment un loupé quelque part.
Tu peux aussi lister chaque pas de ta façon de faire, les réglages, en partant d'un nouveau project.
De là on devrait pouvoir diagnostiquer plus facilement.
Si ça ne suffit pas j'essayerai de faire une vidéo mais je suis sur pas mal de choses en ce moment.
Youtube - - - SoundCloud
Cours machines Elektron
Zorks

par quel moyen puis-je faire un enregistrement de guitare en looper sachant que pour jouer de la guitare on utilise ses deux mains, comme d'ailleurs certains joueurs de synthétiseurs à ce qu'il paraîtrait ?
Ce n'est pas vraiment un probleme, l'OT accepte des messages MIDI qui sont retranscrits en commandes (équivalents de touches ou combinaisons de touches). Voir Appendic C du manuel, sur canal AUTO par exemple.
Commandes MIDI (j'utillise un FCB1010, aussi bien pour les Pickup que pour des recorders standard) :
Notes 60, 61, ... 64 pour les Pickup en direct, ou CC 54 "Arm All" (et pet'ete 53, je ne l'utilise pas) si tu a place des Record Trigs
[/quote]
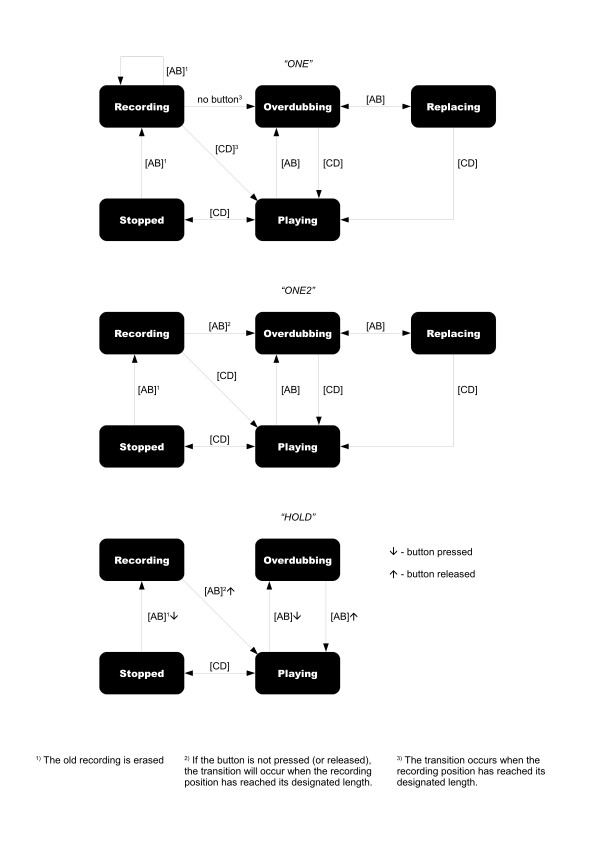
Est-ce que tu connais ce schema ? EDIT : en fait ceci est une vieille version, le schema est present p. 50 du manuel v1.40a

AB et CD representent REC1 et REC2, ca correspond a la serigraphie de l'OT Mk1
willowhisper56


Youtube - - - SoundCloud
Cours machines Elektron
willowhisper56

J'ai réessayé sans souci. Il faut partir d'un nouveau projet. Comme déjà dis, soit tu fais une vidéo, soit tu décris parfaitement ce que tu fais pas à pas.
Sinon impossible de savoir quelle erreur tu fais...
Je suis pas avec l'OT...
Youtube - - - SoundCloud
Cours machines Elektron
willowhisper56

Fab29

sur les entrefaites j'ai enfin réussi à obtenir ce que je voulais...
j'ai enlevé mon message pour ne pas te déranger pour rien mais tu avais déjà répondu !
je ne sais pas si je sais exactement ce que je fais
j'espère parvenir à refaire la même chose prochainement...
je n'ai pas compris pourquoi j'avais un gros bruit de fond numérique et pourquoi il a disparu...
je me débrouille pour appuyer sur REC2 avant le retour au temps 1 du looper (il faut finir le dernier temps par une noire) et ça marche
merci aussi pour les videos, je ne les ai pas toutes vues
bonne soirée
willowhisper56

Si tu utilises une durée d'enregistrement définie avec RLEN, 1 seul appui pour déclencher et boucler suffit.
Tu peux arrêter l'overdub avec REC2 ensuite, mais sans stress.
Youtube - - - SoundCloud
Cours machines Elektron
Fab29

tout ce qui m'a été conseillé ici m'a permis d'avancer en particulier par willowhisper56
un grand merci
et je pensais pouvoir faire ce que je souhaite grâce à un pédalier FCB 1010
or la magie de l'octatrack opère encore....
j'ai configuré le pédalier exactement comme sur le manuel OT
je boucle ma piste 1 sans problème
je passe à la piste 2 grâce au pédalier : note midi 68
mes deux pistes pickup sont exactement les mêmes et exactement configurées comme dans le manuel
j'active donc la piste 2
je presse la pédale 1 note midi 60
et là bien sûr cela aurait été simple et agréable mais c'est l'OT : cela agit sur la piste 1 qui redevient active et il ne se passe rien sur la piste 2
ça se met en overdub sur la 1 mais je ne veux pas faire d'overdub, jamais d'overdub
je ne sais pas, je n'ai peut-être pas décoché un truc dans un sous menu ?
quelque part...
j'ai tout vérifié...
comprends pas...
je ne peux pas enregistrer le pickup 2 par le pédalier...
ni le 3, c'est pareil
merci d'avance à toute main secourable...
willowhisper56

Youtube - - - SoundCloud
Cours machines Elektron
Fab29

d'une part, merci pour l'aide et la réactivité !
d'autre part je ne vois absolument pas comment il m'aurait été possible d'apprendre que pour que chaque piste soit pilotable indépendamment par pédalier il faut utiliser un certain truc qui s'appelle "auto-channel"
sérieusement... ils abusent
merci
je trouverai ça quand j'aurai du temps pour un nouvel essai
Fab29

Fab29

spiderjerusalem

https://brblth.bandcamp.com/ -> Primal, nouvel album en DL.
willowhisper56

Je suis pas d'accord, surtout après l'Octatrack. Je mettrais les manuels de la MD, MnM et l'OT dans le même panier : faut tester pour bien piger, et après tu te dis, ok, finalement c'est logique.
Les Pickups ont été rajoutés avec une update, donc c'est pour moi une sorte de hack / bricolage; pas intuitif et avec des options qui n'aident pas à la compréhension.
L'OT est inspirée de la Machinedrum, avec des machines RAM REC, et des RAM PLAY, chacune avec sa piste, sa séquence. Les Pickups permettent de lier les Recorders avec la lecture Flex, sans trigs.
Donc, dès le départ, c'est confusant.
J'ai réessayé ce week-end, perso je crois que j'utiliserais 4 Pickups sans overdub, resampling avec Recorder, changement de pattern avec lecture du Recording > 3 nouveaux Pickups...
Youtube - - - SoundCloud
Cours machines Elektron
Fab29

bonne journée
Billybilly

Les machines pickups, c'est là où j'ai le plus galéré (et de loin). Une fois que j'ai compris le fonctionnement et que j'ai réussi à faire marcher tout ça, j'étais content pour le côté "défi" mais je me suis dit que je remettrais plus le nez dedans vu que c'est horriblement compliqué (et finalement assez limité) par rapport à une utilisation plus classique des 8 recorders et des pistes avec des machines flex.
Pour moi, le seul avantage des pickups, c'est que ça permet de partir d'une impro libre en audio et d'asservir le séquenceur en terme de tempo et de transport dès qu'on boucle, mais c'est tellement laborieux à paramétrer...
Enfin bref, j'ai revendu l'OT et j'en suis très content
spiderjerusalem

Les Pickups permettent de lier les Recorders avec la lecture Flex, sans trigs.
Je me suis arraché les cheveux parfois à capter des points extrêmement simples sur l'OT en lisant le manuel. Y a des trucs, comme les pickups, je me suis jamais penché dessus (parce que j'en ai pas le besoin actuellement), je sais que ça va être un bordel...
Par contre, je dois aussi admettre que certaines choses sont extrêmement simples et hyper intuitives, et que les choses plus complexes ont tendance à être comme des épiphanies quand tu les découvres.
Sur un groupe FB, un mec avait je trouve bien résumé :
"the manual is garbage. it says all this mind numbing stuff like 'to trig a trig, assign a trig to a trig key and then depress the trig key. for more on trigs, see pages 11, 17, 29-36, 135, 188, 191 and 217'"
https://brblth.bandcamp.com/ -> Primal, nouvel album en DL.
willowhisper56

Youtube - - - SoundCloud
Cours machines Elektron
Fab29

bien d'accord !
Billybilly

Anonyme

Concrètement j'ai les fesses entre deux chaises car je suis attiré par la relative simplicité du RC-505 et attiré pour me reprendre un octatrack MK2 !
Mais bon ça à l'air tellement laborieux pour faire du looping avec l'octatrack ! Mais c'est tellement une machine de dingue aussi bref choix cornélien !
willowhisper56

Il a retiré une de ses vidéos après un de mes commentaires, car il y avait une énormité. Le mec parait convaincant, c'est bien expliqué, mais dès fois c'est faux, et pas la meilleure méthode, mais vu qu'il vend son ultimate setup;
Voilà. Ça peut paraître prétentieux, je l'assume totalement. Je ne me filme pas sous tous les angles pour dire que j'ai la super méthode ultime à vendre.
Youtube - - - SoundCloud
Cours machines Elektron
willowhisper56

On peut faire du looping simplement avec l'OT si la durée est définie, et inférieure ou égale à 64 steps (4 mesures).
Si on veut de la simplicité d'utilisation pour libérer son feeling de musicien live : RC 505 ou autre looper direct.
Si on veut sequencer/remixer ses enregistrements en live : Octatrack.
C'est un looper médiocre, mais un sampler / sequenceur permettant des choses uniques. Faut creuser le sujet, et on est pas à l'abri de certaines frustrations.
Youtube - - - SoundCloud
Cours machines Elektron
- < Liste des sujets
- Charte
- 1
- 2