Dernier article dans la série des haut-parleurs électrodynamiques, nous allons évoquer ici des réalisations aussi originales qu’intéressantes. La grosse différence avec les cas précédents, c’est que la membrane ne suit plus un mouvement uniforme. Dans les deux exemples qui suivent, elle travaille en flexion.
Le transformateur acoustique d’Oskar Heil
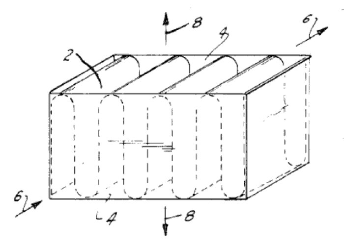
Développé dans les années 60 et commercialisé dans les années 70, ce transducteur diffère de celui à ruban, même si visuellement ils pourraient presque être confondus. L’axe de la force motrice n’est pas le même : le diaphragme ne fait pas un mouvement avant-arrière comme le ruban classique (dont les éventuelles pliures ne changent jamais d’angle), mais il se plie sur lui-même en accordéon, expulsant ou aspirant l’air situé entre les plis. L’air, qui est chassé par ce mouvement de pincement, acquiert plus de vélocité que la membrane elle-même, d’où l’appellation de transformateur (Air-Motion Transformer en anglais). On obtient ainsi une marge dynamique conséquente et une faible inertie, étant donnée la légèreté de l’équipage mobile. La bande de prédilection pour ce type de transducteur se situe dans le registre médium/aigu.


Le circuit qui conduit le signal est constitué de bandes en aluminium disposées parallèlement, sur le ruban en matière synthétique. Le sens dans lequel le courant circule sur le ruban permet ce mouvement particulier en soufflet. Le courant va dans un sens différent sur chaque pli, provoquant un effet inverse d’un pli à son voisin. Quand un pli bouge dans une direction, son voisin bouge dans l’autre, la direction dépendant des oscillations du signal. Les aimants sont situés latéralement et laissent les 2 faces du ruban rayonner (si on n’amortit pas l’arrière). La directivité naturelle est en 8, la réponse est la même des 2 côtés du transducteur.
Un point intéressant est l’irréversibilité de ce transducteur : il ne peut pas se comporter en microphone, les vibrations acoustiques le feraient bouger d’avant en arrière, mais ne changeraient pas l’espace entre les plis et ne provoqueraient pas d’induction dans le circuit conducteur. Contrairement au ruban vu dans l’article précédent, le transformateur agit en flexion et non plus en piston. Quelques marques fabriquent toujours ce type de haut-parleur, à destination des amateurs de haut-fidélité. ESS (entreprise californienne) fut la première en commercialisant son Air-Motion Transformer dès 1973.
Le panneau acoustique NXT

Le diaphragme ne travaille évidemment pas du tout en piston et il rayonne des deux cotés sur toute la surface, procurant une directivité très peu marquée et tout à fait particulière à ces panneaux (résultant de la corrélation très originale entre l’onde avant et arrière). La place des bobines mobiles doit être choisie avec une grande précision, de manière à être couplées uniformément avec le maximum de modes possibles. La réalisation de ces haut-parleurs dépend beaucoup de la modélisation : il est très difficile d’anticiper le comportement du diaphragme sans l’outil informatique.
Les défauts de ce transducteur sont la difficulté à reproduire les basses fréquences, qui nécessitent des panneaux de grande dimension, et le rendement médiocre. Des progrès ont cependant été réalisés, et le seront peut-être encore dans le futur. Ces panneaux ont aussi pour caractéristique une chute moins rapide du niveau quand on s’éloigne, comparé à un haut-parleur conique.


Après cette large place accordée aux haut-parleurs électrodynamiques, nous passerons dans le prochain article à un autre type de transducteur : le haut-parleur électrostatique.


