Trois ans après le Super 6, UDO Audio présente son deuxième synthé, un grand modèle haut de gamme baptisé Super Gemini. Ce magnifique synthé hybride va-t-il nous transporter vers l’infini voire au-delà ?
UDO Audio a été fondée à Bristol en 2018 par George Hearn, auparavant développeur chez Modal Electronics, située dans la même ville de l’ouest de l’Angleterre. Après s’être fait la main sur le Modal 008, il a développé le Super 6 dans sa nouvelle société, un synthé polyphonique hybride bénéficiant d’un son stéréo ample, d’une interface conviviale sans menus et d’une qualité de construction exemplaire. La finalisation avait pris une bonne année après la présentation Superbooth 2019 et nous avions réussi à tester un exemplaire début 2021, entre Covid et Brexit.
C’est au Superbooth 2023 qu’UDO audio a présenté le grand frère du Super 6, sous le vocable Super Gemini : nouveau clavier étendu avec pression polyphonique, bitimbralité, polyphonie accrue, commandes doublées… le synthé s’annonce très prometteur. Si les premiers exemplaires ont été diffusés fin 2023, il aura fallu attendre que la nouvelle distribution de la marque pour la France soit en place avant d’attraper un exemplaire. Merci à Alex4 de nous avoir prêté un Super Gemini en version 1.12…
Construction magnifique


Pression polyphonique


Très large bande



- Super Gemini_1audio 01 Wide space01:16
- Super Gemini_1audio 02 Two arps01:23
- Super Gemini_1audio 03 Sand call01:35
- Super Gemini_1audio 04 PPGesque00:30
- Super Gemini_1audio 05 Pressure bass00:55
- Super Gemini_1audio 06 Hybrid power00:28
- Super Gemini_1audio 07 Large choir01:07
- Super Gemini_1audio 08 Deep bass00:45
- Super Gemini_1audio 09 Double fifth01:32
- Super Gemini_1audio 10 Cross bell01:06
Paire de dix


VCF SSI


Modulations matricielles



Effets stéréo basiques

Arpèges ou séquences

Le séquenceur possède 64 pas avec une polyphonie de 20 notes. En lecture, la séquence est lue et transposée en temps réel au clavier. Par défaut, elle joue en boucle tant qu’on maintient une note et retourne en début de cycle à chaque nouvelle note jouée. Si on active Hold, elle joue en boucle après relâchement de note et est immédiatement transposée dès qu’on joue une nouvelle note, sans retourner au point de départ, ce qui permet des enchaînements sans à-coup. Le swing est également accessible, comme pour les arpèges. Chaque pas contient des notes (1 à 20) et différents paramètres additionnels : Slide (liaison/portamento), Accent (vélocité accentuée sur les différentes destinations programmées dans la section synthèse) et Rest (silence du pas sans effacement des notes entrées). Leur statut est modifiable avec les sélecteurs de mémoires.

Conclusion

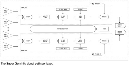
L’architecture, pas si basique qu’il n’y parait, est facile à comprendre, avec de nombreux routages prédéfinis, mais le constructeur n’a pas oublié les modulations matricielles. Par rapport au Super 6, le synthé a progressé, au-delà de la puissance et des commandes qui ont doublé (tout comme le prix). Mais certaines limites du Super 6 ont été reprises sans amélioration : balance des DDS, réglages de suivi de clavier, assignations de la seconde enveloppe, paramètres d’effets, séquenceur, dommage ! De même, il manque un petit écran pour éditer certaines valeurs (globales) ou visualiser certains réglages (matrice de modulation ou séquenceur par exemple). On regrette aussi le nombre limité de mémoires, notamment les performances. C’est donc un synthé racé pour designer sonore plutôt fortuné qui sait parfaitement où il va et ne veut pas perdre de temps dans les menus. Et dans ce domaine, c’est un premier choix !
























