Cette semaine, nous repartons à la recherche des secrets de cette pédale au circuit si simple, et aux possibilités de modifications variées. On passe donc en mode bricolage avec, au menu : salade de diodes, effiloché de condensateurs et bouillon de courbes de réponse.
Dans le dernier article, nous avions procédé à une analyse assez complète du circuit, en le sectionnant, et en tentant de comprendre les différentes fonctions (les différents impacts sur le son) des composants. Petit résumé : la MXR Distortion + est fondée sur un amplificateur non-inverseur, avec un gain maximal de 200. Le signal, en sortie, est écrêté et filtré par deux diodes tête-bêche et un filtre passe-bas. L’écrêtage produit l’effet de saturation : sans les diodes, le signal en sortie est relativement fidèle à l’entrée, à cela près que l’amplificateur a une bande passante non linéaire : plus le gain est important, plus les hauts médiums sont accentués.

Dans un second temps, nous tenterons de définir les composants cruciaux pour le son de cette pédale, en différenciant ceux que l’on va conserver, et ceux sur lesquels on pourra tenter des modifications.
Dans un dernier temps, nous allons commencer à définir les modifications que nous voulons apporter, en les simulant et en les schématisant.
Internationale Simulationniste
Dans un premier temps, pour confirmer nos affirmations de la semaine dernière, nous allons créer un modèle permettant de simuler le comportement du circuit, et de donner à voir, simplement, ce qui s’y passe. Ce modèle nous servira aussi, par la suite, à simuler de potentielles modifications.

Si l’on diminue le gain, on voit notre signal reprendre progressivement l’aspect d’une courbe à l’écrêtage léger.
Il est intéressant de remarquer que si l’on mesure le signal avant le condensateur de filtrage de l’étage de sortie, on observe la même onde écrêtée, mais dont le point central est situé à 4,5 V (voir l’échelle de valeurs à gauche). Il s’agit de la tension de polarisation des entrées, que l’on retrouve en sortie.

Passons à l’analyse des composants qui vont nous intéresser pour nos modifications.
Qui est in, qui est out ?
Parce que, pour modifier un circuit existant, il existe deux approches, qui ne sont pas exclusives : la transformation de composants existants, ou l’ajout de composants nouveaux. Dans cet article on se concentrera sur la première partie ; la seconde sera traitée la semaine prochaine.
L’ampli op : en effet le LM741 n’est pas un ampli opérationnel des plus fins, du point de vue de sa restitution sonore. Il suffit de lire la fiche technique du constructeur (Texas Instrument) pour remarquer qu’il n’est pas fait mention spécifiquement d’applications audio.
Par comparaison, voilà ce que nous dit Burr Brown pour son OPA604 :

Donc, la vitesse de balayage a logiquement une relation avec la fréquence : plus un son à une fréquence élevée, plus son onde fondamentale (et ses harmoniques aussi, d’ailleurs) change rapidement de sens. Donc plus un ampli opérationnel a une vitesse de balayage rapide, plus il arrive à reproduire fidèlement des fréquences élevées. Voici l’équation qui exprime la relation de la vitesse de balayage à la fréquence : 2*π*f*V (on y trouve bien le multiplicateur f, c’est-à-dire la fréquence).
Bref, le LM741, c’est la bête noire des audiophiles, mais le plaisir du musicien ! Car en termes d’amplification de son de guitare, on ne cherche pas la linéarité, et l’atténuation des fréquences aiguës est bienvenue ! (cf. notre article sur le circuit passif de la guitare) On conservera donc le LM741, qui fait bien son job : on ne gagnerait probablement pas grand-chose à le remplacer par un composant aux performances meilleures.

L’ensemble des filtres passe-haut et passe-bas : ces filtres s’additionnent pour former la bande passante de la pédale. Mais ils ne sont pas tous intéressants à trafiquer. En effet, comme nous l’avions fait remarquer, de par sa topologie, le filtre passe-haut inclus dans la boucle de feedback est le seul dont l’influence varie avec le gain, puisqu’il est formé, entre autres, par la résistance variable du potentiomètre de gain. Donc plus le gain est élevé, plus le grave et le bas médium seront filtrés. Modifier cette boucle de gain pourrait s’avérer intéressant, et pourrait permettre d’obtenir des résultats différents au point de vue de la bande passante.
All Mods Comptent
Puisqu’on a éliminé l’ampli op, on attaque directement avec les diodes. Pour imaginer une modification intéressante ici, il faut comprendre ce que font les diodes d’écrêtage, et comment.

Ainsi, on obtient un signal écrêté. Comme une diode agit sur un seul pôle du signal (positif ou négatif), il en faut deux, installées tête-bêche, pour écrêter le signal de façon symétrique. L’amplitude du signal en sortie est, également, limitée par ces diodes : 250 mV maximum. Le niveau d’écrêtage dépend donc du seuil de conductivité de la diode. Il n’est pas compliqué, à partir de là, d’imaginer qu’il serait intéressant de changer les diodes, ou leur topologie, pour obtenir des résultats différents.

Quatre diodes, un sélecteur, un potard : rien de trop compliqué.
Maintenant penchons-nous sur la boucle de contre-réaction et de gain. En premier lieu, il est envisageable d’en changer le condensateur pour minimiser la perte de grave. Un simple switch permettrait de sélectionner différents condensateurs pour des résultats différents. Voici la simulation de la bande passante de la pédale pour les valeurs 10, 22, 33, et 100 nF : on voit bien que plus le condensateur a une forte valeur, moins le signal pique autour de 4 kHz.
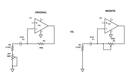
Mais il est également possible de changer la topologie de toute cette boucle de gain.
En effet, en l’état, la résistance dont la valeur varie (de façon à augmenter le gain) a une influence sur la bande passante. SI l’on change cette résistance de place, on change le fonctionnement du filtre passe-haut formé par le condensateur et le couple C+VR. Dans sa version originale, la fréquence de coupure du filtre passe-haut change avec le réglage de gain, car la valeur de la résistance VR1 change : on tourne le potard, le gain augmente — et en conséquence la fréquence de coupure du filtre augmente. Plus de gain = moins de bas médiums. Avec cette nouvelle configuration, le filtre conserve ses valeurs fixes même lorsque le gain augmente. Ci-dessous, voici le schéma proposé ainsi que les courbes de réponses obtenues.
Ci-dessous la réponse en fréquence de la pédale dans son circuit original, et de son circuit modifié :
C’est non seulement intéressant, mais en plus les deux modifications ci-dessus sont compatibles ! On peut aussi proposer un système permettant de basculer d’un système de gain à un autre avec un simple inverseur de type 3PDT (c’est-à-dire à trois contacts, et deux positions, comme l’on voit ci-contre).
Concluons cet article en proposant quelques valeurs alternatives. La Disto Plus a été copiée par plusieurs autres constructeurs, avec quelques modifications intéressantes. Inspirons-nous donc de DOD et de sa 250, et envisageons d’enlever C1, le condensateur de suppression de bruit RF — cela nous permettra de gagner un tout petit peu d’aigus et, donc, de clarté. Certaines versions de la Ross R-50 changent le condensateur de blocage DC, en sortie, pour une valeur plus élevée (jusqu’à 10 uF) de façon à récupérer plus de graves : modification intéressante surtout si l’on propose différentes bandes passantes, comme on l’a fait ci-dessus. On les inscrit donc sur la liste !
Dans le prochain article, nous verrons quelles modifications intéressantes peuvent être apportées en ajoutant des éléments au circuit original, et nous commencerons à redessiner le schéma de la pédale.









